- This product exports US,Mexico, Australia,Poland,Canada,England, Worldwide.
- We guarantee each product will be checked carefully before shipping before shipping before shipping.
- All our products are in best quality,good after-service.
Lightning Bracket for FIN6
Get A Quote
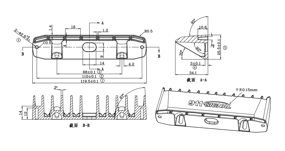
DIMENSIONS

SPECIFICATION
mode:30°/45°/90° Lightning Bracket









